Hyundai Veloster Manuals

Hyundai Veloster: Rear Seat. Repair procedures - Seat & Power Seat - Body (Interior and Exterior)Hyundai Veloster: Rear Seat. Repair procedures

Replacement

Rear Seat Assembly Replacement
1.
After loosening the mounting bolts, then remove the rear seat cushion (A).

Tightening torque :
16.7 ~ 25.5 N.m (1.7 ~ 2.6 kgf.m, 12.3 ~ 18.8 lb-ft)

2.
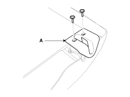
After loosening the mounting bolts, then remove the rear seat back (A).

Tightening torque :
16.7 ~ 25.5 N.m (1.7 ~ 2.6 kgf.m, 12.3 ~ 18.8 lb-ft)

3.
Installation is the reverse of removal.
Seat Back Cover Replacement [LH]
•
When prying with a flat-tip screwdriver, wrap it with protective tape, and apply protective tape around the related parts your hands.
•
Put on gloves to protect your hands.
1.
Remove rear seat back assembly.
2.
Push the lock pin (B), remove the headrest (A).

3.
Remove the rear seat folding lever (A) after turning in the counter clock-wise direction.
4.
Remove the rear seat folding lever cover (B).

5.
After loosening the mounting screws, then remove the rear seat latch cover (A).

6.
Using a screwdriver or remover, remove the rear seat side bracket cover (A).

7.
Push the protecter (B) by the rear seat back panel (A).

8.
Using a screwdriver or remover, remove the rear seat back panel (A).

9.
Disconnect the protector (A).

10.
Remove the rear seat back panel (A) from the rear seat back frame (B).

11.
Pull out the headrest guides (A) while pinching the end of the guides, and remove them.

12.
Remove the rear seat back cover from the rear seat back frame.
13.
After removing the velcro tape (B) on the rear of seat back and remove the seat back cover (A).

14.
Installation is the reverse of removal.
•
Replace any damage clips.
Rear Seat Latch Replacement [LH]
•
When prying with a flat-tip screwdriver, wrap it with protective tape, and apply protective tape around the related parts your hands.
•
Put on gloves to protect your hands.
1.
Remove the following items first.
A.
Rear seat assembly
B.
Rear seat back cover
2.
After loosening the mounting bolts, then remove the rear seat latch assembly (A).

3.
Installation is the reverse of removal.
•
Replace any damage clips.
Seat Back Cover Replacement [RH]
•
When prying with a flat-tip screwdriver, wrap it with protective tape, and apply protective tape around the related parts your hands.
•
Put on gloves to protect your hands.
1.
Remove rear seat back assembly.
2.
Push the lock pin (B), remove the headrest (A).

3.
Remove the rear seat folding lever (A) after turning in the counter clock-wise direction.
4.
Remove the rear seat folding lever cover (B).

5.
After loosening the mounting screws, then remove the rear seat latch cover (A).

6.
Using a screwdriver or remover, remove the rear seat side bracket cover (A).

7.
Push the protecter (B) by the rear seat back panel (A).

8.
Using a screwdriver or remover, remove the rear seat back panel (A).

9.
Disconnect the protector (A).

10.
Remove the rear seat back panel (A) from the rear seat back frame (B).

11.
Pull out the headrest guides (A) while pinching the end of the guides, and remove them.

12.
Remove the rear seat back cover from the rear seat back frame.
13.
After removing the velcro tape (B) on the rear of seat back and remove the seat back cover (A).

14.
Installation is the reverse of removal.
•
Replace any damage clips.
Rear Seat Latch Replacement [RH]
•
When prying with a flat-tip screwdriver, wrap it with protective tape, and apply protective tape around the related parts your hands.
•
Put on gloves to protect your hands.
1.
Remove the following items first.
A.
Rear seat assembly
B.
Rear seat back cover
2.
After loosening the mounting bolts, then remove the rear seat latch assembly (A).

3.
Installation is the reverse of removal.
•
Replace any damage clips.
Rear Seat Cushion Cover Replacement
•
When prying with a flat-tip screwdriver, wrap it with protective tape, and apply protective tape around the related parts your hands.
•
Put on gloves to protect your hands.
1.
Remove the following items first.
A.
Rear seat cushion assembly
2.
After loosening the mounting screws, then remove the rear seat cup holder panel assembly (A).

3.
Remove the mounting clips (A).

4.
After removing the hog-ring clips (B) on the rear of seat cushion and remove the seat cushion cover (A).

5.
Installation is the reverse of removal.
•
To prevent wrinkles, make sure the material is stretched evenly over the cover (B) before securing the hog-ring clips (A).
•
Replace the hog-ring clips with new ones using special tool [C (09880-4F000)].


Rear Seat. Components and Components Location
Components 1. Headrest [RH] 2. Headrest guide [RH] 3. Rear seat back cover [RH] 4. Rear seat cushion cover [RH] 5. Cup holder panel assembly 6. Headrest [LH] 7. H ...

Seat Belt
...

See also:

Good driving practices
Never move the gear shift lever from P (Park) or N (Neutral) to any other position with the accelerator pedal depressed. Never move the gear shift lever into P (Park) when the vehicle is in mo ...

Input Speed Sensor 1 > Description and Operation
Description The input shaft speed sensor is important in that it detects the input shaft RPM and sends this information to the TCM. It provides important input information for electric contr ...

Vehicle stability management (VSM)
This system provides further enhancements to vehicle stability and steering responses when a vehicle is driving on a slippery road or a vehicle detected changes in coefficient of friction between ...

Categories


© 2011-2025 Copyright www.hvmanual.com